| | Hledání | Kontakty | O firmě | Servis | Fórum | eShop | Ceník [€] | m.elsaco.cz | | Přihlásit |

TECHNICKÉ ÚDAJE
Analogové vstupní výměnné moduly
Rozsahy měření:
napětí (bi-/unipolární): 50 mV ÷ 10V
proud (bi-/unipolární): 1 ÷ 40 mA
odpor (přímé měření): 5 ÷ 100 kiloohmů
odporové vysílače: 105, 130, 600, 1000 ohmů
teplotní čidla: Pt100, Ni1000, KTY...
Uvedeny jsou pouze meze, konkrétní rozsah každého vstupu je určen výměnným
konfiguračním modulem SAIx.
Analogové výstupní výměnné moduly
Výstupní rozsahy pro U [V]:
0-10, 0-5, 0-2, 0-1, na zakázku
Výstupní rozsahy pro I [mA]:
0-20, 0-10, 0-5, 0-2, 0-1, na zakázku
Volba je dána osazením výměnného SAOx či SPOx modulu.
Rozměry modulu (š x v x h):
cca 12 x 18 x 40 mm
Rozsah pracovních teplot: –10 ÷ 50 °C
Typy zásuvných modulů:
SAIU-xy, SAIV-xy, SAII-xy, SAIR-xy, SAIB-xy, SAIS-xy, SAIN-xy, SAIP-xy, SAOU-xy,
SAOI-xy
Podrobnosti v katalogovém listu - nahoře odkaz k jeho stažení.
Objednací čísla
EI5900, EI5901, EI5902, EI5903, EI5904, EI5906, EI5907, EI5908, EI5940, EI5941, EI5942
katalogový list kpdomky.pdf - 302.7 kB, 08.03.2004
ZÁKLADNÍ CHARAKTERISTIKA
Výměnné moduly - "domečky" - se vsazují do univerzálních analogových pozic a slouží k určení typu analogové pozice (vstup nebo výstup) a jejího rozsahu. Vstupy je možno použít k měření napětí, proudu a odporu (odporové vysílače, teploměry Pt100, KTY a Ni1000). Výstupní moduly jsou v provedení s napěťovým nebo proudovým výstupem.
Na zakázku je možné zhotovit výměnný modul s téměř libovolným rozsahem.
Převodníky u modulů CAIO-11 a CCPU-02 mají odlišný rozsah.
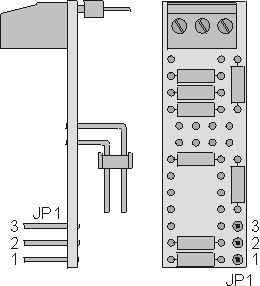
U modulu CCPU-02 se jedná o rozsah 0 - 5V, u modulu CAIO-11 má převodník rozsah 0 až 2,5 V. Propojkou JP1 dle obrázku se upravuje rozsah použitého domečku (násobek 1, 2, ±1).
Nastavení propojky JP1 - viz dotaz na fóru.
Postup při zasunutí výměnného modulu do univerzální pozice:
